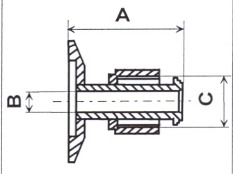
Bride tournante avec jonc
DN Référence A B C D E 63 304063 130 3 12 110 9X4 80 304080 145 3 12 125 9X8 100 304100 165 3
DN Référence A B C D E 63 304063 130 3 12 110 9X4 80 304080 145 3 12 125 9X8 100 304100 165 3
DN Référence A B C D E 10-16 137101 20-25 137202 32-40 137324
DN Référence A B C D E 16 152140 35.6 4.8 1/4″ 25 152150 40.6 10.4 1/2″
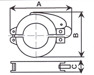
DN Référence A B C D E 10-16 151016 70 52 16 20-25 151025 81 61 16 32-40 151040 98 75
DN Référence A B C D E 16 CF 447016 21 16 3 35 CF 447035 48.2 37 3 63 CF