cryothermsa@hotmail.com

04 79 38 57 38

Adresse

18 rue de l'Industrie
73460 Frontenex

Generic selectors
Exact matches only
Search in title
Search in content
Post Type Selectors

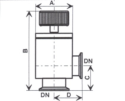
Vanne d’équerre à commande manuelle

Caractéristiques principales: Corps en alliage léger ou en inox

TAUX DE FUITE
Boitier, siège : < 1.10-9 mbar ls-1

PRESSIONS: (ouverte et fermée, sens de fermeture): 1.10-8 mbar à 5 bars (abs)

PRESSION différentielle maxi à l’ouverture: 1,2 bar dans les deux sens PRESSION différentielle au clapet (sens d’ouverture):

DN 16: 5 bars – DN 25: 5 bars – DN 40: 3 bars – DN 50: 3 bars

CYCLE AVANT PREMIER ENTRETIEN:

DN 16: 1 million – DN 25: 1 million – DN 40: 1 million – DN 50: 1 million

TEMPERATURE D’ETUVAGE: – Vanne: 150°C – Volant: 50°C

joints:clapet – boitier: viton – passage d’axe: soufflet

DN Matière référence A B C D
16 alliage léger 504016 47 131.5 40 40
16 inox 505016 47 131.5 40 40
25 alliage léger 504025 60 152.5 50 50
25 inox 505025 60 152.5 50 50
40 alliage léger 504040 82 183 65 65
40 inox 505040 82 183 65 65
50 alliage léger 504050 95 206 70 70
50 inox 505050 95 206 70 70