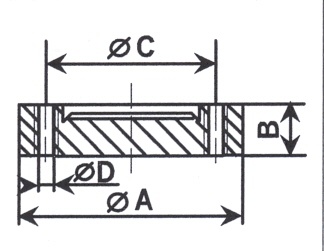
304 L
| DN | Référence | A | B | C | D | E |
| 16 CF | 403016 | 33.8 | 7.6 | 27 | M4 | 6 |
| 35 CF | 403035 | 70 | 12.7 | 58.7 | M6 | 6 |
| 63 CF | 403063 | 114.5 | 17.5 | 92.1 | M8 | 8 |
| 100 CF | 403100 | 152 | 19.8 | 130.2 | M8 | 16 |
| 150 CF | 403150 | 199 | 22.2 | 181 | M8 | 20 |
| 200 CF | 403200 | 249 | 24.6 | 231.8 | M8 | 24 |
316 L
| DN | Référence | A | B | C | D | E |
| 16 CF | 404016 | 33.8 | 7.6 | 27 | M4 | 6 |
| 35 CF | 404035 | 70 | 12.7 | 58.7 | M6 | 6 |
| 63 CF | 404063 | 114.5 | 17.5 | 92.1 | M8 | 8 |
| 100 CF | 404100 | 152 | 19.8 | 130.2 | M8 | 16 |
| 150 CF | 404150 | 199 | 22.2 | 181 | M8 | 20 |
| 200 CF | 404200 | 249 | 24.6 | 231.8 | M8 | 24 |
E = nombre de trous