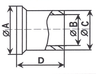
Embout lisse pour diamètre spécial du tube
INOX 304 L DN Référence A B C D E 25 149025 40 22.2 25.4 40 40 149040 55 39.2 42.4 40 50
INOX 304 L DN Référence A B C D E 25 149025 40 22.2 25.4 40 40 149040 55 39.2 42.4 40 50
304 L DN Référence A B C D E 16 145016 30 16 20 70 16 145116 30 16 20 110 25 145025
304 L DN Référence A B C D E 10 103010 30 10 14 50 16 103016 30 16 20 50 20 103020
304 L DN Référence A B C D E 10 102010 30 10 14 21 16 102016 30 16 20 21 20 102020
DN Référence A B C D E 16 139016 30 5 17.1 16 20.1 25 139025 40 5 26.1 25 28.1 40 139040 55 5