Griffe simple (Aluminium)
DN Référence A B C D E 63 322063 23.6 13.2 110 4 80 322080 23.6 13.2 125 8 100 322100 23.6 13.2
DN Référence A B C D E 63 322063 23.6 13.2 110 4 80 322080 23.6 13.2 125 8 100 322100 23.6 13.2
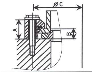
DN Référence A B C D E 63/100 303063 50.3 24.13 16 M8 4 160/250 303200 52.7 27.94 20.32 M10 6 320/400 303320 75 M12
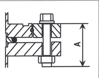
DN Référence A B C D E 63 305063 40 M8 4 80/100 305080 40 M8 8 125/160 305125 50 M10 8 200/250 305200 50