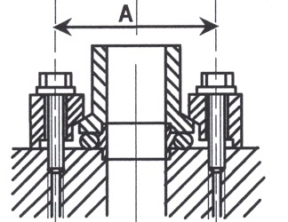
| DN | Référence | A | B | C | D | E |
| 10 | 134002 | 43 | 2 | |||
| 16 | 134002 | 43 | 2 | |||
| 25 | 134004 | 53 | 2 ou 4 | |||
| 40 | 134004 | 68 | 4 | |||
| 50 | 134004 | 88 | 4 |
B = nombre de trous M6
| DN | Référence | A | B | C | D | E |
| 10 | 134002 | 43 | 2 | |||
| 16 | 134002 | 43 | 2 | |||
| 25 | 134004 | 53 | 2 ou 4 | |||
| 40 | 134004 | 68 | 4 | |||
| 50 | 134004 | 88 | 4 |
B = nombre de trous M6