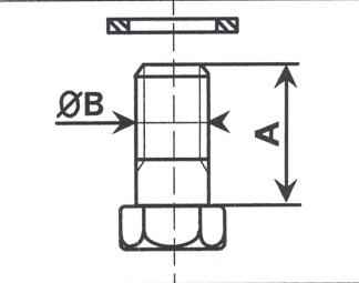
| DN | Référence | A | B | C | D | E |
| 16 CF | 437016 | 16 | M4 | 6 | ||
| 35 CF | 437035 | 25 | M6 | 6 | ||
| 63 CF | 437063 | 35 | M8 | 8 | ||
| 100 CF | 437100 | 35 | M8 | 16 | ||
| 150 CF | 437150 | 40 | M8 | 20 | ||
| 200 CF | 437200 | 45 | M8 | 24 | ||
| 250 CF | 437250 | 45 | M8 | 32 |
C = Nombre de vis
| DN | Référence | A | B | C | D | E |
| 16 CF | 437016 | 16 | M4 | 6 | ||
| 35 CF | 437035 | 25 | M6 | 6 | ||
| 63 CF | 437063 | 35 | M8 | 8 | ||
| 100 CF | 437100 | 35 | M8 | 16 | ||
| 150 CF | 437150 | 40 | M8 | 20 | ||
| 200 CF | 437200 | 45 | M8 | 24 | ||
| 250 CF | 437250 | 45 | M8 | 32 |
C = Nombre de vis